IJsselmeer, eind augustus 03.00 uur ‘s nachts. Zevenhonderd jachten jakkeren kriskras door elkaar. Schuin aan bakboord zitten er een stuk of vijf. “Piet, jij hebt de beste nachtogen, kunnen we er nog voorlangs? Is het groen of rood?” “Nee, het lijkt wel wit of geel. Dan varen ze dus van ons af. Nee, het lijkt toch meer op groen. “Ik zie niets op de AIS. Dit gaat fout, te dichtbij. Overstag!” “Zeker weer zo’n clown met goedkope ledlampjes in zijn toplicht.”
Welke zijn wel goed? Het is tijd voor de driekleurentoplichtentest. We zetten elf led driekleurentoplichten voor de small craft, dat zijn zeiljachten kleiner dan 20 meter, op de testbank.
Test driekleurentoplichten
Tekst Egenolf van Stein Callenfels
Waarom led?
Led voor in het driekleurentoplicht, het lijkt wel of ze ervoor zijn gemaakt. Geen 25 watt stroomslurper meer in de mast, maar slechts 3 watt. En nooit meer kapotte lampjes. 50.000 uur, zeggen ze. En ook als wit ankerlicht ideaal, geen lege accu’s meer. De ‘echte’ led driekleurentoplichten zijn echter nog steeds behoorlijk aan de prijs. En bleken toch nog regelmatig kapot te gaan. Te pas en te onpas komen er daarom led vervangingslampen op de markt die in de fitting passen. Kan dat zomaar? Zijn ze helder genoeg en kloppen de kleuren? Zijn die gecertificeerd? Zijn gecertificeerde lichten eigenlijk vereist voor de recreatievaart?
:max_bytes(70000)/https%3A%2F%2Fcdn.pijper.io%2Fzeilenwp%2F2016%2F05%2Ffig-1-300x225.jpg)
Op het witte scherm is een raster getekend van + en – 20 graden naar BB en SB en ook 20 graden naar onder en boven, zodat de breedte van de rood-groen overstraling goed is in te schatten.
:max_bytes(70000)/https%3A%2F%2Fcdn.pijper.io%2Fzeilenwp%2F2016%2F05%2Ffig-2-300x225.jpg)
Ook werden de lampen op een horizontaal wit vlak gezet en van boven gefotografeerd, zodat een goed beeld werd verkregen van het stralingsbeeld over 360 graden en ook met name van de kleurovergangen in de sectorscheidingen.
Vervolgens hebben we rondom de helderheid en de exacte kleurwaarde gemeten en dat in diagrammen geplot. En ten slotte hebben we mogelijke radiostoringen geanalyseerd. Deze testen aan driekleurentoplichten zijn geïnspireerd door een initiatief uit het Zeilersforum, die eerder ook een praktijktest met driekleurentoplichten uitvoerde. De verslagen zijn te vinden op het zeilersforum > artikelen > techniek.
Opzet van de testen
Op het water zijn ‘s nachts twee zaken van belang: welke kleur toont het licht en hoe is de zichtbaarheid van het licht rondom over alle sectoren? En: hoe kunnen we dit goed meten? We vonden in Nederland iemand die dit soort metingen op professionele wijze doet: Marcel van de Steen van www.olino.org.
De te testen lampen worden vastgeschroefd op deze meetbank en kunnen een 360° rotatie maken. Maar ook scheefstanden tot aan 90° kunnen worden gemeten. Met een geijkte fotometer wordt het uitgezonden licht gemeten.
Voor de driekleurennavigatielichten hebben we gekozen om 360 meetpunten in de omtrek te meten in stappen van 1 graad. Verder hebben we op de ‘dwars uit’-posities (90° en 270°) verschillende scheefstanden gemeten variërend van 0 tot 25 graden in stappen van 5 graden. Op de testbank wordt het licht op ca. 1,3 meter afstand opgevangen door een geijkte licht- en kleursensor type ‘SpecBos 1211’.
Deze sensor geeft op elk meetpunt de helderheid in candela en ook de kleurwaarden in X- en Y-coördinaten. Het registreren en vervolgens plotten van de gemeten lichtsterkte gebeurt in Excel m.b.v. polaire diagrammen met een logaritmische schaal.
De grafiek is opgebouwd uit 360 meetpunten (één graad per meetpunt).
De gemeten lichtsterkte in candela is uitgezet op een logaritmische schaal. Een dergelijke schaal is in overeenstemming met wat het menselijk oog waarneemt. Een lichtbron met een sterkte van 100 candela wordt slechts twee keer zo sterk ervaren als een lichtbron met een sterkte van 10 candela.
In dit CIE-diagram zijn de kleurvlakken aangegeven – de zogenaamde vertices –, waarbinnen de kleuren van navigatielichten moeten vallen.
De door de spectrometer gemeten kleurwaarden van elk meetpunt worden omgerekend in X- en Y-waarden voor respectievelijk de horizontale en de verticale schaal. Op die manier kunnen alle meetpunten eenvoudig in dit CIE-diagram worden geplot. Het is dan onmiddellijk goed zichtbaar of de vereiste kleur wordt gehaald, want meetpunten moeten zoveel mogelijk binnen de vakken vallen. Vervolgens hebben we geteld hoeveel van de totaal 360 meetpunten binnen de vakken vielen en hoeveel erbuiten. Dit hebben we omgerekend in een percentage wat we ‘colour consistancy’ genoemd. Dit getal geeft een goede indicatie hoe de kleurweergave van het licht is over de volle omtrek van alle sectoren.
Elke meting duurt circa 20 seconden en wordt opgeslagen op de computer. Aangezien er totaal 372 metingen per lamp geprogrammeerd zijn (360 + 12 scheefstand metingen), duurt het testen van één lamp in een geautomatiseerde cyclus dus een aantal uren. Tijdens de test wordt de spanning en stroomsterkte van de lamp, plus de temperatuur van de lamp en zijn omgeving nauwkeurig gemeten en vastgelegd.
We pretenderen op geen enkele manier dat bovengenoemde testmethode een vervanging zou zijn voor de ‘officiële’ certificeringstesten. We hebben vooral gekeken naar de praktische toepasbaarheid op zeiljachten, waar stroombesparing een topprioriteit is. En waar zichtbaarheid en duidelijke herkenbaarheid van kleuren van groot belang is.
Praktijktesten door het Zeilersforum
Tijdens de voorbereiding van dit artikel is er regelmatig contact geweest met een groep enthousiaste mensen van het Zeilersforum. Zij hebben in het voorjaar van 2015, ‘s nachts op het Veluwemeer, een aantal driekleurenlichten zo objectief mogelijk in de praktijk getest op verschillende afstanden, zowel op kleurwaarneming als op zichtbaarheid. Een van de doelstellingen was ook om een nieuw type vervangingslamp (Dr. led) te testen. Deze vervangingslamp haalde de vereiste zichtbaarheid echter niet. Deze praktijkwaarnemingen bleken goed in overeenstemming te zijn met de metingen.
(bron Zeilersforum)
Het CIE-diagram
Dit diagram bevat alle door het menselijk oog zichtbare kleuren en is vastgesteld door de Commission International de Eclairage (CIE). Alle kleuren kunnen worden ingeplot als X en Y waarde in dit diagram. Aan de rand van het diagram is de golflengte in nanometer uitgezet. In het midden van het diagram, waar alle kleuren even sterk zijn, levert dit zuiver wit licht op.
In de praktijk is ‘wit’ licht van gloeilampen wat naar de geelrode kant verschoven. Bij ledlampen is dit wat meer naar blauw verschoven. Dit is ook in de metingen goed zichtbaar. Het komt ook tot uitdrukking in de kleurtemperatuur (zie Zeilen 2/2016). Binnen dit diagram ligt ook de Adobe RGB kleurendriehoek, die iets kleiner is dan het volledige CIE-diagram. In deze RGB driehoek vallen de praktisch reproduceerbare kleuren op een computerscherm of in drukinkt. Dit is dus een beperking voor de kleuren zoals afgedrukt in dit artikel, het oog kan veel meer kleuren zien.
De ISO 19009 standaard
Tot voor kort was er geen standaard voor lednavigatielichten. Pas in september 2015 is er overeenstemming bereikt over de eisen waaraan IMO/Wheelmark gecertificeerde ledlampen moeten voldoen.
Deze standaard beschrijft met name de vereiste helderheid en de kleuren en de testmethode van de navigatielichten.
Daarnaast is er een heel scala aan overige eisen omschreven waar we hier niet verder op ingaan: extreme temperaturen, trillingen, schokken, waterdichtheid, corrosiebestendigheid, UV-bestendigheid, constructie en robuustheid.
Wel hebben we gekeken naar mogelijke EMC RF (radio)storingen op de kortegolf en op de marifoon, de frequentiebanden die voor marine communicatie van belang zijn.
Voor een zichtbaarheid op 2 mijl is volgens bovenstaande norm voor nieuwe lampen een helderheid van 5,4 candela vereist. Omdat de lichtsterkte van ledlampen na duizenden branduren gaandeweg vermindert, is de minimale vereiste helderheid gesteld op 4,3 candela. Je kunt er dus van uitgaan dat een lichtsterkte van 5 candela goed zichtbaar is op 2 mijl en dit wordt ook bevestigd in de praktijk.
Bij de sectorscheidingen rood – groen – wit mag de helderheid over een klein gebied (maximaal +/- 3 graden) iets minder zijn. Eventuele overstraling van kleuren moet ook binnen deze +/- 3 graden blijven. Bij een scheve stand van het licht (25 graden) mag de helderheid minimaal tot 50% afnemen ten opzichte van de verticale stand.
Voor de kleurdefinitie wordt gebruik gemaakt van het CIE-diagram. De ISO 19009 norm geeft in dit diagram omlijnde vakken aan waarbinnen de kleuren van gecertificeerde navigatielichten moeten vallen. Voor elke geteste lamp hebben we alle gemeten punten in het CIE-diagram geplot. Goede lichten hebben een kleurconsistentie van meer dan 95%, hetgeen wil zeggen dat er niet meer dan 18 meetpunten buiten de vereiste kleurvakken vallen.
Zichtbaarheid van kleuren
Het menselijk oog bevat staafjes voor de helderheid waarneming en kegeltjes voor kleurwaarneming. De kegeltjes werken optimaal bij veel licht. Er zijn drie soorten kegeltjes voor rood, groen en blauw en de sterkte van die drie lichtsignalen opgevangen door de kegeltjes wordt door ons brein in een ‘kleur’ omgezet. Zijn ze alledrie even sterk dan zien we wit licht. De staafjes kunnen geen kleur zien, maar alleen lichtsterkte maar functioneren juist goed bij hele lage lichtsterkten. Vandaar dat we in de schemering ook geen kleuren meer zien. Bij heel zwakke lichtbronnen wordt het dus ook steeds lastiger om kleuren goed te onderscheiden. De optimale gevoeligheid van de staafjes is in het groenblauwe gebied.
Rood lukt meestal nog wel maar het verschil tussen groen en wit is bij zeer lage lichtsterkten steeds lastiger te zien. Vandaar het belang om juist bij led lichtbronnen de juiste kleur groen in het navigatielicht te realiseren. Witte leds geven van nature een nogal blauwig licht.
Voor wie het naadje van de kous wil weten: Wiki: ‘fotopisch zicht’
Blauw = ‘s nachts
Rood = overdag
Wettelijke eisen aan navigatieverlichting
Dit is voor de leek een taaie materie door veel ondoorgrondelijk taalgebruik. We beperken ons tot de eisen voor zeilschepen < 20 m een zogenaamd ‘klein schip’. Volgens IMO COLREG72 mag door een dergelijk jacht alleen zeilend een driekleurenlicht (combinatielicht) in de top van de mast worden gevoerd. De zichtbaarheid moet ten minste 2 mijl bedragen en het moet een gecertificeerd licht zijn. Deze eis geldt wereldwijd op zee en in alle BPR vaarwegen in Nederland. Dat omvat de Zeeuwse wateren, het IJsselmeer de Waddenzee en alle binnenwateren en kanalen waar wij als zeiljacht kunnen varen. Een recreatiejacht, ook al is het een ‘klein schip’, wordt voor de wet gelijkgesteld met een zeeschip. Veel omringende landen, met name Duitsland, (BSH), eisen een gecertificeerd licht met bijbehorend certificaat aan boord. In Nederland wordt dat minder streng gehandhaafd.
Onderstaand de letterlijke tekst uit het BPR 2016:
:max_bytes(70000)/https%3A%2F%2Fcdn.pijper.io%2Fzeilenwp%2F2016%2F06%2FBPR-1.png)
:max_bytes(70000)/https%3A%2F%2Fcdn.pijper.io%2Fzeilenwp%2F2016%2F06%2FBPR-2.png)
Gecertificeerde lichten
Gecertificeerde lichten zijn te herkennen aan een IMO-COLREG en/of een Wheelmark-inscriptie; beide moeten aan de buitenzijde zichtbaar zijn. Wheelmark (ook wel MED – Marine Equipment Directive) is een Europese richtlijn die certificering in alle EU-landen harmoniseert.
Ondanks deze stringente regels is er in de diverse watersportwinkels een scala aan niet-gecertificeerde lichten te koop, omdat er in Nederland niet erg streng op wordt gelet. Die mogen dus alleen worden gebruikt buiten de genoemde vaarwegen. Uiteraard is het voor de eigen veiligheid van belang wel gewoon gecertificeerde navigatielichten aan boord te hebben. Dat geeft de zekerheid van de juiste kleur, goede zichtbaarheid – ook onder helling, een minimale rood-groen overstraling, betrouwbaarheid, robuustheid, waterdichtheid et cetera. Het is onverstandig te beknibbelen op veiligheid door met ondeugdelijke navigatieverlichting te varen.
Led vervangingslampen
Te pas en te onpas worden in de markt en op internet led vervangingslampen aangeboden die in de bekende BAY15D-fitting passen (met die ongelijke pennetjes), zoals in de Aquasignal, Hella en DHR toplichten. Gezien de enorme prijsverschillen met de gecertificeerde ledlichten, komt menigeen in de verleiding dit soort ledlampen toe te passen in hun bestaande armatuur.
Het gebruik van deze vervangingslampen is echt een heel slecht idee en wel om de volgende redenen:
- De spectrale kleurverdeling van een ledlamp verschilt met die van een gloeilamp. Dus wanneer een ledlamp achter een gekleurd glas wordt geplaatst is de lichtdoorlaat zeer onvoorspelbaar. Het groen wordt groen-blauw of juist groen-geel. Het rood wordt oranje of paars en ook de helderheidsverschillen tussen groen en rood worden veel groter. Ook de warmwitte leds geven onvoorspelbare kleur- en helderheidsverschillen wanneer ze achter gekleurd glas worden geplaatst, omdat het gekleurde glas alleen bepaalde kleuren doorlaat, die soms niet door de led worden uitgezonden. Of andersom: sommige door de led uitgezonden kleuren worden door het gekleurde glas tegengehouden.
- Conventionele driekleurenlichten werken optimaal met een dunne verticale gloeidraad. Daardoor blijft de rood-groen overstraling zeer scherp binnen de +/- 3 graden. Als voorbeeld het toplicht van DHR. Een led vervangingslamp heeft altijd een veel grotere diameter of meerdere ledchips, zodat de overstraling in alle sectoren véél groter wordt en ook niet meer klopt met de IMO COLREG-eisen (zie fig. 9). De lampen geven een zeer verwarrend kleurbeeld. Hierdoor verliezen deze lampen hun certificering!
- Met name bij de onderzochte led vervangingslampen werden aanzienlijke storingen op de radio en de marifoon gemeten.
- Door de grotere omvang en gewicht van dit soort ledlampen gaan ze op zee bij sterke bewegingen in de masttop wiebelen in de fitting, met slechte contacten en corrosie tot gevolg.
:max_bytes(70000)/https%3A%2F%2Fcdn.pijper.io%2Fzeilenwp%2F2016%2F05%2Ffig-9-300x177.png)
Wanneer een gloeilamp in een bestaande fitting wordt vervangen door een ledlamp, (hetzij een witte, hetzij een gekleurde) verliest het navigatielicht zijn certificering door de veel grotere overstraling tussen de sectoren.
Storingen op de radio en marifoon
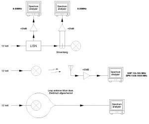
In tegenstelling tot gloeilampen hebben ledlampen een zogenaamde elektronische driver nodig om te kunnen functioneren. Deze ‘drivers’ werken volgens een hoogfrequent principe en zijn daardoor potentiële radio stoorbronnen. Dit soort storingen kunnen alleen worden onderdrukt door het rigoureus toepassen van metalen behuizingen, ontstoringsfilters en goed afgeschermde voedingskabels.
Niet alle fabrikanten hebben deze maatregelen goed toegepast, maar in de laatste ISO norm worden er wel degelijk eisen gesteld op dit gebied. Alle lichten zijn getest op mogelijke radiostoring bij Fa. Shiptron in Enkhuizen met behulp van een professionele Rigol Spectrum analyser en bijbehorende antenne, meetfilters en versterkers.
De nabijheid van gps en marifoon antennes in de masttop werd gesimuleerd.
Drie frequentiegebieden zijn voor ons zeilers van belang: de midden- en kortegolf van 1-30 MHz voor het ontvangen van weerberichten, weerkaartjes en SSB-communicatie. De marifoonband van 155-165 MHz (voor marifoonverkeer en AIS) en de gps frequentieband van 1,55-1,65 GHz.
Eerst is gemeten in de 12V voedingsdraden zelf, daarna ook met behulp van antennes. Waarom in de voedingsdraden? Omdat in de mast de voedingsdraden en de coaxkabel van de marifoonantenne over 15 meter parallel lopen is er een aanzienlijk risico op storingsoverdracht. Bovendien kunnen storingen in de voeding van het navigatielicht zich terug verplaatsen door het gehele boordnet, met risico op storingen aan andere apparatuur en slechte radio-ontvangst.
Daarnaast is er gemeten met behulp van een marifoon- en een gps-antenne in de buurt van het licht; een opstelling zoals die op veel schepen voorkomt.
De effecten van dit soort storingen zijn ruis of gezoem op de radio, onleesbare weerkaarten en slechte SSB-verbindingen. In de marifoonband worden andere schepen of AIS-data niet goed meer ontvangen doordat het stoorsignaal de squelch ‘dichtdrukt’ en andere schepen – ook AIS – niet meer worden gehoord of ontvangen. Er is weliswaar geen geruis maar een veel slechtere ontvangst en je hebt niet in de gaten dat dit wordt veroorzaakt door het ledlicht.
Allereerst is het storingsnul-niveau gemeten bij de uitvoeringen met gloeilampen. Dit wordt weergegeven door de paarse lijn in onderstaande grafiek
De gele lijn geeft de gemeten storing, de paarse lijn is het gemiddelde nul-niveau.
Vervolgens zijn de ledlampen gemeten. Deze werden aangesloten met een zogenaamd ‘LISN’-filter dat ervoor zorgt dat alleen de storing veroorzaakt door de ledlamp zelf wordt gemeten. Alle storingen uit de voedingsbron worden op die manier geëlimineerd. Zowel de spanning als de stroom in de voedingsdraden werden gemeten. Er werd een 25 dB meetversterker toegepast.
Opzet van de verschillende RF metingen, zowel voor HF 0-30 MHz, voor VHF 155-165 MHz, als voor gps 1,5 GHz.
De resultaten van de metingen geven aan dat alle ledlampen in mindere of meerder mate RF-storing veroorzaken, voornamelijk in de voedingsdraden.
De grootste storing werd gemeten bij de led vervangingslampen. Dit is verklaarbaar doordat er in de fitting van deze lampen geen ruimte is om een elektronisch filter op te nemen. Onderstaande tabel geeft de maximaal gemeten waarden in dB ten opzichte van het nulniveau.
Groen is acceptabel, okerkleur geeft mogelijk enige storing, rood geeft aanzienlijke storing op de radio. Storingen in het gps frequentiegebied werden niet waargenomen.
As voorbeeld onderstaand het storingsbeeld van twee verschillende led lampen, beide gemeten in de 0 – 30 MHz (HF) frequentieband. Paars is het nulnivieau (zoals bij een gloeilamp). Geel is het gemeten storingsniveau.
Betrouwbaarheid en storingsgevoeligheid van ledlichten
Wanneer een gloeilamp in de mast kapot gaat, is dit eenvoudig een kwestie van een reservelamp erin draaien. Wanneer ledlichten kapot gaan is er een probleem. Die zijn niet zonder meer te vervangen. En heeft iedereen dan een set nood-navigatielichten bij de hand?
In principe wordt voor ledlampen een zeer lange levensduur geclaimd van 30.000-50.000 uur, waarbij de lichtsterkte langzaam terugloopt. Helaas blijkt het in de praktijk toch vaak mis te gaan en geeft de nieuwe dure ledlamp voortijdig de geest. Soms kan worden teruggevallen op de garantie van de fabrikant, maar daar heb je midden op zee niets aan.
De oorzaak ligt veelal aan slecht gedimensioneerde drivers die niet zijn opgewassen tegen spanningspieken zoals die op elke boot voorkomen. Spanningspieken kunnen optreden bij het starten van de motor, het slecht functioneren van de dynamo of het in of uitschakelen van zware verbruikers zoals ankerlier en elektrische lieren.
Maar ook onweer kan – ook als er geen sprake is van een directe inslag – door inductie toch aanzienlijke spanningspieken in het boordnet geven.
Dit soort schade kan worden beperkt door rigoureuze overdimensionering van de drivers en andere elektronica in het ledlicht. De duurdere ledlichten hebben dit wel, maar de vervangingslampen niet.
:max_bytes(70000)/https%3A%2F%2Fcdn.pijper.io%2Fzeilenwp%2F2016%2F06%2FTabel_overzicht-300x80.jpg)
NB: In totaal zijn er 13 lichten getest maar in bovenstaande tabel zijn er maar 12 opgenomen.
Nadat de fabrikanten de testresultaten ter inzage waren gegeven, gaf de Franse fabrikant Mantagua aan het geleverde licht uit de test te halen omdat men bezig was een nieuwe verbeterde versie van hun driekleurenlicht te ontwikkelen.
Conclusie
Conventionele driekleuren navigatielichten geven altijd nog een zeer goed en helder beeld maar hebben het nadeel van 25 watt verbruik. Wordt in deze lichten de gloeilamp vervangen door een led vervangingslamp van 3 watt dan verliezen deze driekleurenlichten hun certificering en geven ze veelal een zeer verwarrend kleurbeeld.
Witte led vervangingslampen zijn hooguit geschikt in navigatielichten zonder kleursectoren zoals bij een rondom schijnend wit ankerlicht.
De led driekleurenlichten hebben een aanzienlijk lager stroomverbruik van slechts 2-3 watt stroomverbruik en zijn te verdelen in twee categorieën:
A: die met een krans van leds;
B: die met enkele kleuren ‘power leds’.
De ‘krans’ ledlichten hebben weliswaar goede helderheid en kleur, maar hebben geen van alle een goede scherpe rood/groenscheiding. De beste optische eigenschappen, en dus ook de beste rood/groen scheiding, wordt bereikt met zogenaamde power leds in combinatie met speciale aangepaste lensjes. De optische eigenschappen van deze laatste groep (Aquasignal 34, Hella Navilight Trio, Bluewaterlights, Peters-Bey) zijn minstens zo goed en zelfs beter dan conventionele lichten. Bovendien zijn ze inmiddels ook allemaal gecertificeerd.
Het Aquasignal 34 licht is het meest aantrekkelijk geprijsd.
Als reserve of noodnavigatielicht – hoewel niet gecertificeerd – voldoet ook het kwalitatief goede Navisafe driekleurenlicht op drie AAA-batterijen.
Beoordeling van de lichten (in alfabetische volgorde)
Aquasignal series 40 (met 25 gloeilamp)
Dit is een kwalitatief goed conventioneel licht dat op grote schaal in gebruik is op bestaande jachten als masttoplicht. Door de fabricagemethode van de fresnel lens ontstaan er wat ribbels in het helderheidsdiagram. Dit is echter in de praktijk niet waarneembaar.
De overstraling tussen de sectoren is minimaal en ook de helderheid is ruim voldoende.
De lamp is alleen gecertificeerd als deze wordt gebruikt met een gecertificeerde 25 watt gloeilamp met verticale gloeidraad.
Radiostoring in 0-30 MHz band = nulniveau van storing (gloeilamp)
Aquasignal series 34 led
Dit ledlicht voldoet in alle opzichten aan de gestelde criteria. Het stroomverbruik is met 1,83 watt laag. De sectorscheiding is zeer strak. De zwarte banden geven alleen het lichtbeeld op zeer korte afstand, op een afstand van 1 meter is dit effect verdwenen. Het licht gaf zeer weinig meetbare radiostoring. Het licht is ’s winters met een simpele bajonetsluiting afneembaar. Ook de prijs (119 euro) is aantrekkelijk en gecombineerd met rondom wit ankerlicht 180 euro en maakt dit tot een van de goedkoopste volledig gecertificeerde lichten
Een punt van kritiek: voor het aansluitblok worden ijzeren kroonsteen schroefjes gebruikt; dit is vragen om problemen.
Radiostoring in 0-30 MHz band
Bluewaterlights (gefabriceerd door K2W en worden ook verkocht onder de naam Peters-Bey)
Deze Duitse fabrikant is in Nederland relatief onbekend, maar maakt kwalitatief hoogwaardige ledlichten. Drie powerleds zijn gemonteerd op een aluminium koelprofiel binnen in een hardglazen cilinder en gevat in een geanodiseerd aluminium behuizing. Daardoor heeft dit licht een kwalitatief hoogwaardige uitstraling.
De optische eigenschappen zijn uitstekend, alhoewel de groene sector ternauwernood de 5 candela haalt. Er zijn nogal wat verschillende uitvoeringen die in ontwikkeling zijn, zoals de Peters-Bey uitvoering met additioneel wit rondschijnend ankerlicht. Soms zit het ankerlicht boven, soms onder.
De prijs is ook aanzienlijk, maar verschilt nogal tussen P&B, Bluewater en K2W.
Radiostoring in 0-30 MHz band
DHR – Den Haan Rotterdam (met 25 watt gloeilamp)
Dit is een prima conventioneel licht wat aan alle eisen voldoet en met bijbehorende gloeilamp een uitstekende rood-groen scheiding heeft. We hebben dit daarom als referentie genomen om de ledlichten goed te kunnen beoordelen.
Geen radiostoring (gloeilamp)
Hella Marine (met 25 watt gloeilamp)
Kwalitatief goed conventioneel licht, dat, evenals Aquasignal en DHR, aan alle eisen voldoet.
Geen radiostoring (gloeilamp)
Hella Marine Naviled Trio
Dit is een goed ledlicht met uitstekende strakke kleurscheiding. Het licht voldoet aan alle IMO-eisen. De helderheidsverdeling over alle sectoren is zeer goed en wordt bereikt door speciale voorzetlenzen voor de leds. Ook de kleuren zijn goed. Wordt gefabriceerd in Nieuw-Zeeland (waarschijnlijk is dat de reden waarom er nog geen Wheelmark certificering is). Het licht is door het losdraaien van één bout ’s winters van de mast afneembaar. De prijs is aanzienlijk.
Radiostoring in 0-30 MHz band
Lopolight
Lopolight maakt een fraai volledig ingegoten en kwalitatief hoogwaardig product van geanodiseerd aluminium (fit and forget). Echter, de optische eigenschappen zoals rood/groenoverstraling en kleurconsistentie zijn matig te noemen voor deze prijsklasse. Ook onder helling wordt de helderheid snel minder. Dit wordt veroorzaakt door te toegepaste techniek van een krans van leds. De rode sector is minder helder vergeleken bij groen en wit.
Radiostoring in 0-30 MHz band
Mantagua (Fr.)
Als driekleurenlicht voldoet dit licht niet aan certificering, omdat de kleurscheiding veel te groot is en de kleurconsistentie veel te laag. Ook de helderheid is onvoldoende en haalt niet overal de 5 candela. Alleen indien uitgevoerd als rondomschijnend wit ankerlicht zal een dergelijk type licht wel kunnen voldoen.
Het licht heeft ook nogal wat radiostoring.
Radiostoring in 0 – 30 MHz band
Mastproducts vervangingslamp (in Aquasignal behuizing)
Ondanks het feit dat deze vervangingslamp ooit een productinnovatieprijs heeft gewonnen (Dame award) maakt deze lamp de certificering van een bestaande behuizing ongeldig. De rood/groenoverstraling is veel te groot en de lamp geeft aanzienlijke radiostoring. De rode sector is aanzienlijk zwakker dan de andere kleuren. Alleen als wit rondschijnend ankerlicht – niet varend – kan het eventueel wel.
De radiostoring is aanzienlijk.
Radiostoring in 0-30 MHz band
NASA Supernova
Dit licht bestaat uit een krans van leds. Daardoor is de rood/groenoverstraling aanzienlijk. Ook onder helling wordt de lichtsterkte snel minder. Het licht geeft nogal wat radiostoring. Het licht is niet gecertificeerd, maar voor kleine jachten op plassen en meren buiten BPR-gebied kan het eventueel wel. De helderheid is wel ruim voldoende. Er is ook een rondomschijnend witte uitvoering als ankerlicht of voor toepassing op jachtjes kleiner dan 7 meter.
Radiostoring in 0-30 MHz band
Nauticled vervangingslamp in Aquasignal behuizing
Deze vervangingslamp geeft aanzienlijke rood/groenoverstraling en maakt daardoor de certificering van de bestaande behuizing ongeldig. Bovendien is de lichtverdeling ongelijk en is de rode sector aanzienlijk zwakker dan groen en wit. Het groen is te veel geelgroen en valt buiten het gewenste kleurvak. De lamp geeft aanzienlijke radiostoring. Er wordt inmiddels een verbeterde uitvoering ontwikkeld met minder overstraling en minder radiostoring.
Radiostoring in 0- 30 MHz band
Navisafe (gevoed door 3 AAA batterijen)
Dit moet worden beschouwd als een reserve (nood)navigatielicht en is ook niet IMO-gecertificeerd. Door het zeer lage stroomverbruik is ook de lichtsterkte met name in de rode sector beneden de gewenste 5 candela. Voor het overige zijn de optische eigenschappen, de rood/groenoverstraling, de kleurconsistentie en de helderheid bij helling redelijk voor een licht met een krans van leds. De kwaliteit (waterdichtheid) is ook heel redelijk voor een prijs van 60 euro. De magnetische voet is handig.
Radiostoring in 0-30 MHz band
Peters-Bey (K2W) driekleuren met ankerlicht
Dit licht is uiterlijk vrijwel gelijk aan het Bluewaterlight, maar heeft iets krachtiger leds hetgeen resulteert in een grotere helderheid. De optische eigenschappen zijn uitstekend. Ook onder helling blijft de lichtsterkte gelijk. Het licht heeft dezelfde kwaliteitsuitstraling als het Bluewater light door het geanodiseerde huis en de hardglazen cilindrische behuizing. De prijs is voor de uitvoering met wit ankerlicht. Bij de uitvoering als K2W licht zijn op internet aanzienlijk lagere prijzen te vinden.
Radiostoring in 0-30 MHz band
Tekst: Egenolf van Stein Callenfels










